
安装准备
1、AF型法兰式松套伸缩接头安装前,应按施工图检查AF型法兰式松套伸缩接头的型式,规格,传力螺杆装置等,应确认符合设计要求。
2、按安装说明书和施工图核对AF型法兰式松套伸缩接头的伸缩量或调节量,使AF型法兰式松套伸缩接头在安装前处于最佳状态。
3、法兰连接管件的法兰型式要与AF型法兰式松套伸缩接头的法兰一致。
敷设,安装
1、定位
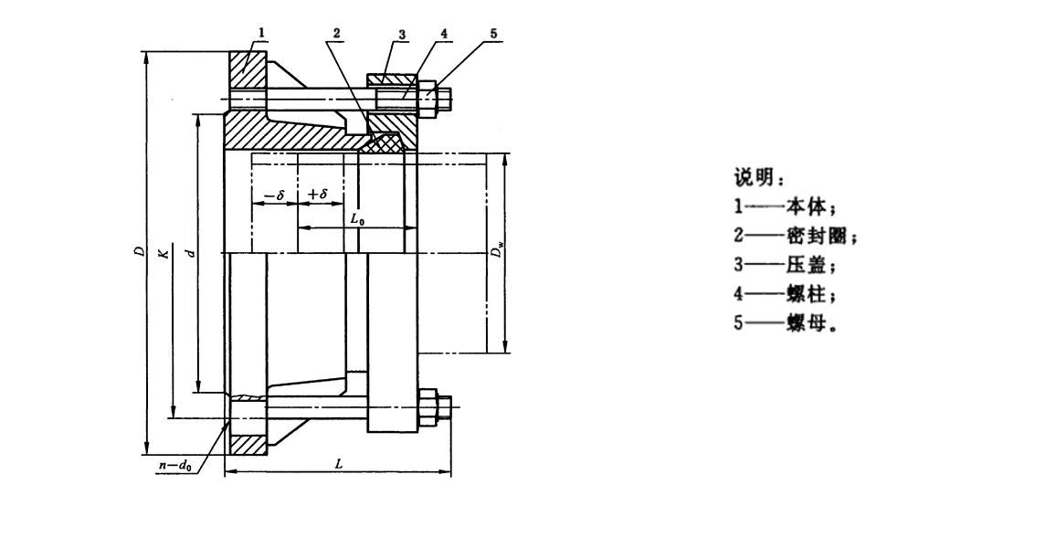
1.1、所有AF型法兰式松套伸缩接头在安装前应对插入的管子先按要求在管端做好插入长度标记,确定管路定位时连接件的伸缩量
1.2、安装管路中设置检查室的情况下,AF型法兰式松套伸缩接头的安装位置应便于检查及维修。
1.3、使用A类,B类,D类AF型法兰式松套伸缩接头当设有支架时应做到接头一端靠近固定支架,另一端靠近导向支架,接头与支架的距离均应不大于管子外径的4倍。
1.4、使用AF型法兰式松套伸缩接头的管道系统应正确选用固定支架和导向支架,支架的数量应与系统相适应,支架安放在AF型法兰式松套伸缩接头附近。见图
2、焊接
2.1、焊接前检查AF型法兰式松套伸缩接头和被焊接管道管口的平整度,圆度及坡口,应符合相关标准要求。
2.2、施焊时AF型法兰式松套伸缩接头和被焊管道管口应定位固定,不应产生位移。
2.3AF型法兰式松套伸缩接头的施焊按AF型法兰式松套伸缩接头的焊接工艺评定要求进行操作。
3、 检查调整
3.1、AF型法兰式松套伸缩接头安装后应进行检查,所有压盖均应统一拧紧,保证密封圈和填料处于最佳状态。
3.2、根据需要,将AF型法兰式松套伸缩接头的传力杆调节至有效位置。AF型法兰式松套伸缩接头周围应有足够的空间,以保证AF型法兰式松套伸缩接头在设计范围内能自由运动。
3.3、管道吊装位置不应设在AF型法兰式松套伸缩接头上。
3.4、确认所有导向支架,固定支架未正确安装之前,不应进行内部压力试验。
AF型法兰式松套伸缩接头的选用
AF型法兰式松套伸缩接头能吸收管道因热胀冷缩形成的轴向位移,但不能承受轴向压力推力。
AF型法兰式松套伸缩接头连接适用于管径较小的一般管路
AF型法兰式松套伸缩接头适用于在城市管网系统中管径DN500以下的管路连接。
AF型法兰式松套伸缩接头适用于明设,埋地敷设或管沟敷设,但不应直接埋设于墙体或混凝土内。法兰连接在暗设时应设有检查室。
AF型法兰式松套伸缩接头的安装可分为明设、埋地敷设和管沟敷设等方法.
AF型法兰式松套伸缩接头宜用于船舶管路系统时,应符合有关要求和规定。
AF型法兰式松套伸缩接头宜用于船舶II级纵管系和III级管系,但不适用于下列场合
a)穿过压载舱和燃料舱的舱底水管系
b)穿过货舱和燃料舱的海水和压载管系、包括空气和溢流管系
c)穿过机器处所、货舱和压载舱的燃料和石油管系,包括空气和溢流管系
d)压力水雾系统中的非主水管(干管系统)
如需最新数据请联系在线客服
河南良众管业有限公司 手机号:18638277136 固话:0371-64018718 传真: 0371-64018718 邮箱:850165323@qq.com 地址:巩义市西村镇西村 网址:http://www.hnlzgy.com
请在此处留言 良众管业客服人员会尽快给您回电 为您定制专属的产品应用方案
- + 河南良众各种套管式伸缩器型号意义说明
- + 总结一下内置式鸭嘴阀的优劣
- + 为山东寿光的泄洪祈祷
- + 2018督查好政策帮助脱贫扶助到家但好政策不…
- + 普吉岛翻船事件之后许多天
- + 诚信经营河南良众防水套管
- + 规范校外培训机构发展是我们又一层的教育保…
- + 端午前后枙子花开河南良众管业祝福你守爱每…
- + 河南良众生产销售各种伸缩接头,橡胶接头,…
- + 我不是药神,而我们多需要神药
- + 每年8月19日设立为“中国医师节”是我们重视…
- + 这样的传力接头是不是更漂亮一些呢
- + 刚性止水穿墙套管安装浇筑的步骤
- + 提高防水套管的密封性能预防渗漏
- + 教你看懂柔性防水套管图集
- + 七夕节良众人用爱制作的产品





扫二维码联系在线客服